Pulley Blocks (Helicopter)
Single Pulley
• massive aluminium sheave molded in one piece for increased stability
• for single conductor
• ball bearing hinge mechanism for automatic insertion of the pulling rope
• galvanized steel frame with clevis attachment turnable by 90˚
• bolted groove liners for easy exchange
• high-quality maintenance-free ball bearings with high safe working load
| part no. | ZECK GmbH part no. |
no. of wheels |
A mm |
B mm |
C mm |
D mm |
E mm |
F mm |
BL kN |
SWL kN |
weight Kg |
| HPB-01-0650 | 76-1244 | 1 | 750 | 650 | 95 | 17 | 20.5 | 1228 | 141 | 47 | 69 |
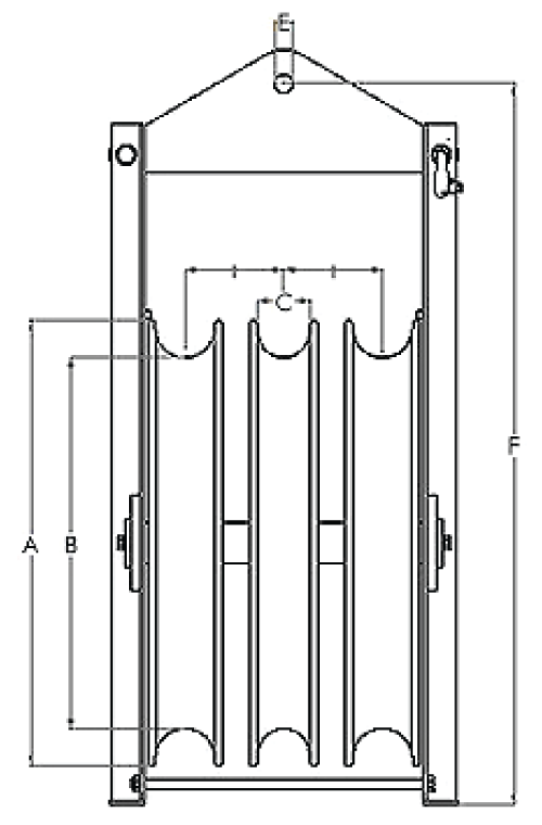
3-Sheave Pulley Block
![]() |
• massive aluminium sheave molded in one piece for increased stability • for single conductor 2- or 3-bundle • ball bearing hinge mechanism for automatic insertion of the pulling rope • galvanized steel frame with clevis attachment turnable by 90˚ • bolted groove liners for easy exchange • high-quality maintenance-free ball bearings with high safe working load |
| part no. | ZECK GmbH part no. |
no. of wheels |
A mm |
B mm |
C mm |
D mm |
E mm |
F mm |
H mm |
BL kN |
SWL kN |
weight Kg |
| HPB-03-0650 | 76-1293 | 3 | 750 | 650 | 95 | 22 | 30.5 | 1593 | 178 | 219 | 73 | 218 |
OPTIONAL
• groove liners of polyamide or aluminium
• anti-fleeting device
• alternative distance between sheaves (h)
• fixed clevis
• grounding device with laterally mounted disc and carbon brush for aluminium groove liners (tested according to IEC 61328)
working load: calculated according to European standards (safety factor 3)

